Auf der Tokyo Motor Show wurde das Tuch über der Sportwagenstudie Mazda RX-Vision Concept gelüftet. Zum Vorschein kam ein rassiges Sport-Coupé mit der Neuinterpretation des Kodo-Designs der japanischen Marke. Der wahrscheinlich 2017 wohlmöglich als Mazda RX-9 erscheinende Wagen könnte dann mit einem über 400 PS starkem Turbo-Wankel ausgestattet sein. Wir haben hier für euch mal das Antriebskonzept dieser Studie etwas genauer beleuchtet.
In ihrer Geschichte haben die Japaner schon öfter auf die Kraft aus dem Wankel-Motor gesetzt. Man denke nur an den RX-7 und den RX-8. Warum also sollte man beim Mazda RX-9, der wohl schon 2017 aus dem Mazda RX-Vision Concept entsteigen wird, nicht auch auf den Wankel-Antrieb setzen? Zwar ist das Comeback von diesem Motorkonzept schon bestätigt, in welchem Auto und mit welchen Leistungsdaten es aber eingesetzt werden soll, ist leider bislang noch unbekannt. Das lässt für uns den Raum für Spekulationen und ein paar Gedankenspiele.

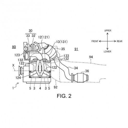
Erst einmal muss der gute, alte Wankel natürlich sparsamer und effizienter werden, um die von modernen Fahrzeugen geforderten Emissionswerte einhalten zu können. Aus einer kürzlich veröffentlichten Patentanmeldung vom United States Patent and Trademark Office USPTO (US Patent-Nummer 20160084158, “Rotary Piston Engine Mounted on Vehicle“) lassen sich erste Details zur neuen Kreiskolbenmaschine ableiten. Damit das Aggregat samt Turbo auch unter die extrem flache Motorhaube passt, wurde es kurzerhand einfach um 180° um die Längsachse gedreht, so dass die Auslassseite dann oben liegen wird. Analog dazu wandert die Einlassseite natürlich auch nach unten, was die Ansaugwege verlängert und somit zusammen mit dem Turbolader für ein höheres Drehmoment sorgen soll. Gleichzeitig wollen sich die Ingenieure den Staudruck im Ansaugbereich im Stil eines Ram-Air-Systems zu Nutze machen und somit die Power unterhalb des Ladebereichs erhöhen. Dieses neue Konzept soll für Leistungen von über 400 PS sorgen. Die Kraftübertragung soll über ein Doppelkupplungsgetriebe erfolgen und bei den Bremsen vertraut man den italienischen Experten von Brembo. Wir bleiben für euch dran an den Entwicklungen rund um Mazdas neue Sport-Speerspitze.

Bilder: © Mazda, USPTO




















[…] Mazda RX-Vision Concept mit einem über 400 PS starkem Turbo-Wankel?, gefunden bei automobil-blog.de (0.1 Buzz-Faktor) […]